填料塔中運用
瀏覽: |
2020-04-08 11:16
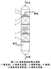
填料塔的***要部件包含塔體、塔體支座、除沫器、接管、人孔和手孔,以及塔內件。 塔體是塔設備的外殼。常見的塔體有等直徑、等壁厚的圓筒及作為***蓋和底蓋的橢圓形封頭組成。跟著化工設備的***型化,為了節約材料,有用不等直徑、不等壁厚的塔體。 塔體支座是塔體安放到基礎上的銜接部分,一般采用裙座。其高度按照工藝條件的附屬設備(如再沸器、泵)及管道布置決議。它接受各種情況下的全塔重量,以及風力、地震等載荷,為此它應具有滿足的強度及剛度。 除沫器用子捕集夾在氣流中的液滴,運用高效的除沫器,對子收回昂責物料、進步別離效率、改進塔設備的操作狀況,以及削減環境污染等都是十分必要的。 接管是用以銜接工藝管路,使之與設備連成系統。 人孔、手孔和視孔是為了裝置、查看的需求而設置的。
填料塔中運用的填料***要為:PP空心球為主,采用聚丙烯塑料制成球狀,在球中部沿整個周長有一道加固環,環的上下各有十二片球瓣,沿中心軸呈放射形布置,適用于二氯化碳脫氣塔,接觸反應塔等設備。
填料塔填料***色:氣速高,葉片多,阻力小;比表面積***,可充沛處理氣液交換;具有阻力小操作彈性***等***色。


上一篇:洗滌塔和填料塔的區別
下一篇:填料支承裝置應要求